
財富中文網于北京時間7月22日發布了2025年《財富》中國500強排行榜。該榜單采用與《財富》世界500強一脈相承的制榜方法,同時包括了上市和非上市企業。依據榜單數據,可以了解中國最大企業的最新發展趨勢。
集團香港上市公司
中國東方集團控股有限公司
以2024年營收5970.3百萬美元
居排行榜第340位
《財富》中國500強排行榜(截圖)


今年500家上榜的中國公司在2024年的總營業收入達到14.2萬億美元,和上年上榜公司相比,下降約2.7%;凈利潤達到7,564億美元,較上年增長約7%。今年上榜公司的年營收門檻約為36.2億美元,較去年的門檻下降約3%。按美元計算,2024年中國的GDP總量達到18.75萬億美元,今年榜單中500家公司的收入總和約為中國當年GDP的四分之三。
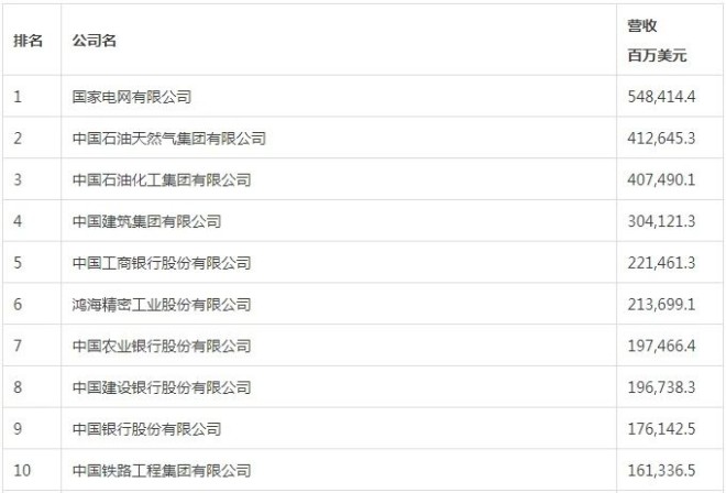
國家電網有限公司以5,484億美元的營收位居榜首,中國石油和中國石化分列榜單第二位和第三位,位列第四位的是中國建筑集團,中國工商銀行位列第五。蘋果最大代工企業鴻海精密位列第六,較去年上升1位,仍是排名最高的臺灣地區公司。今年前十位中,沒有大陸民營企業。京東集團位列第11位,較去年上升2位,仍是排位最高的大陸民營企業。
在盈利能力方面,最賺錢的十家上榜公司中,除五家商業銀行和中石油外,今年進入利潤榜前十位的有四家民營企業:臺積公司、騰訊、阿里巴巴集團、中國平安。其中臺積公司以360.87億美元的凈利潤排在利潤榜第4位;騰訊2024年的凈利潤同比增長超過65%,以超過269億美元的凈利潤排在利潤榜第6位;阿里巴巴集團和中國平安分別位列利潤榜第9位和第10位。這十家公司在去年的總利潤約為3,115億美元,約占上榜公司利潤總和的41%。
此次,《財富》中國500強中共計有57家上榜公司未能盈利。虧損榜前十家公司中,共有九家房地產公司、一家車企。面臨流動性壓力的中國房地產企業仍未完全度過行業調整期。中國東方航空、中國南方航空和中國國航這三家航空公司雖然尚未扭虧為盈,但已經大幅減虧。
今年上榜公司數量最多的行業是金屬產品行業,共有55家公司上榜,上榜公司收入總額達到1.27萬億美元。
排行榜按截止日不晚于2025年3月31日財務年度的營業總收入對公司進行排名。所有上榜公司必須公布其財務數據并將部分或全部數字報告給政府機構。
營業收入數字包括合并子公司的收入以及已報告的已終止運營業務的收入,但未計入營業稅。
利潤為稅后利潤,并扣除損益表上的非正常賒銷或非正常費用、會計準則變動累積影響數、非控股股東(即少數股東)權益,但未扣除優先分紅。
榜單所列資產為各公司財務年度截止日時的數字。
中國東方集團控股有限公司(股票代碼00581),2003年經商務部批準,控股河北津西鋼鐵集團股份有限公司97.6%的股權,2004年,以津西為依托,在香港聯交所主板上市,成為全國首家海外上市民營鋼鐵企業。2007年,全球最大鋼鐵生產商安賽樂米塔爾成為上市公司第二大股東。2017年9月,被納入港股通。2018年,集團董事局主席韓敬遠居“中國上市公司最佳CEO榜單”第6位。2019年,集團董事局入選“中國最佳董事會50強”。




























