應力集中客觀存在 優化改進迫在眉睫
在煉鐵生產中,引進的小拱頂頂燃式熱風爐熱風出口內襯旋磚往往出現變形、爐殼發紅、熱風出口垮塌、拱頂垮塌爐殼開裂等情況。這不僅導致熱風爐溫度長期處于不穩定降低風溫運行狀態,而且嚴重時會導致停產檢修,給企業帶來巨大的經濟損失。分析這些問題產生的根本原因,在于爐襯耐材結構設計的應力集中和爐殼加工焊接應力集中所致。經進一步分析,這兩類應力集中產生,是因為爐襯上部采用了優質高膨脹硅質耐火磚砌筑的錐形拱頂,該拱頂與砌筑在熱風出口直段的大墻聯接組成了一種特殊燃燒室結構。該燃燒室結構限制在上小下大的錐形爐殼內,當熱風爐處于烘爐及加熱過程中,造成耐火材料膨脹,就會形成更為復雜的應力集中,會造成熱風出口耐材砌體變形,爐殼受力開裂。同時,在周期性4千克/平方厘米~5.5千克/平方厘米的送風氣體壓力作用下,熱風爐在長期運行過程中,熱風爐爐襯應力集中部位就會產生熱疲勞損壞、爐殼焊縫腐蝕開裂等弊端。因此,為減少和消除應力集中,確保熱風爐結構穩定長壽,就迫切需要對現有頂燃式熱風爐燃燒室結構進行優化改進。
創新設計爐殼結構 應力集中消退衰減
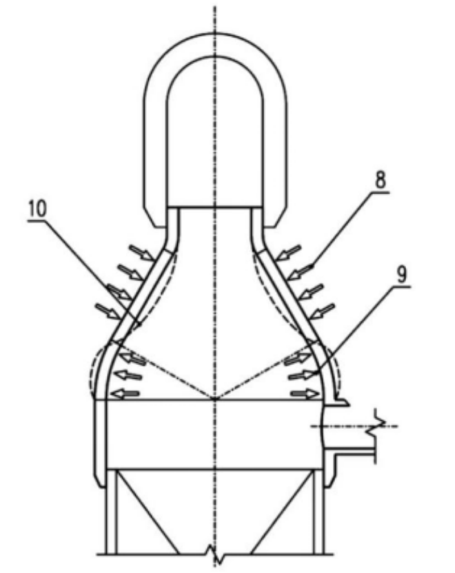
近年來,國內外熱風爐設計專家及其團隊殫精竭慮,設計踐行出不少先進適用且符合煉鐵生產安全實際的長壽高風溫熱風爐結構,推動我國熱風爐安全生產登上了新臺階。例如,首鋼一級科學家,京唐鋼鐵公司總設計師、京唐鋼鐵公司煉鐵設備專家、總工程師張福明教授結合長期穩定運行的國外獨立懸鏈線燃燒室結構和熱風爐獨立錐形拱頂結構的優越技術特點,結合現有頂燃式熱風爐爐殼開裂和熱風出口損壞垮塌等實踐研究,發明了《頂燃式熱風爐圓弧擬合懸鏈線獨立拱頂結構》新的技術成果(圖3),受到了煉鐵界的歡迎。該設計成果是對現有受力不合理的頂燃式熱風爐錐形拱頂(圖 1、圖2)實施了圓弧擬合懸鏈線結構(圖3)和獨立支撐拱頂的受力改進(圖4)。

圖1為傳統小帽子頂燃式熱風爐燃燒室錐形體拱頂結構

圖2為實踐中錐形砌體內襯高溫受力導致錐形砌體中部往下凸起變形、下部拱腳部位變形外擴導致耐材砌體受力和球面部位爐殼受力狀態示意圖

圖3為結合國際國內實踐驗證的懸鏈線拱頂結構優化錐形砌體受力平衡示意圖

圖4為將擬合懸鏈線拱頂結構與下部熱風出口直段分離,減少疊加應力,穩定長壽結構示意圖
同時,豫興公司的獨立支撐拱頂裝置頂燃式熱風爐(圖4,在國際國內使用和在建數百座進行了實踐驗證)、張福明及其和他的團隊發明的獨立支撐拱頂裝置的擬合懸鏈線頂燃式熱風爐(圖3)、中冶京誠四段式結構(圖4)國外公司頂燃式熱風爐等等均也紛紛采用防止和減少應力集中的穩定結構,并實施了進行了數千百座熱風爐長期的實踐驗證。這些詮釋了為防止和減少熱風爐爐襯和爐殼應力集中,數千百名科學家長期致力于優化熱風爐燃燒室結構、燃燒器結構、熱風出口結構、熱風出口與爐體的連接方式等措施,解決了高風溫熱風爐使用壽命短的共性技術問題,也給熱風爐設計工作者提供了科學的設計依據。

圖5為圖2對應,錐形燃燒室拱頂應力集中導致的熱風爐拱頂應力坍塌

圖6為圖2對應,應力集中導致的熱風爐熱風出口坍塌

圖7為應力集中導致的熱風爐爐殼焊縫拉開開裂
晶間腐蝕不可忽視 應力腐蝕更應警惕
熱風爐爐殼在校對焊接或者運行過程中,爐殼也會出現裂紋、焊縫開裂,甚至偶爾會出現爐殼拱頂與殼體分離等危險現象發生。遇到了焊縫開裂或者拱頂與殼體分離,一般情況下,人們往往不分析是什么原因造成這樣的事故,就毫無顧忌地進行二次校對焊接。然而,爐殼在焊接過程中產生的裂紋,一般都會出現在爐殼內壁,焊縫外面看上去完好無損,經過高溫運行后,出現的腐蝕介質滲進裂紋縫隙中導致爐殼外面焊縫開裂,一般采取的措施就是在焊縫處補焊一塊鋼板,讓熱風爐繼續運行。經處理運行一段時間后,又出現補焊部位焊縫開裂,導致漏風或者安全隱患存在。某企業對爐殼裂紋進行了檢測,結論是應力腐蝕。也有資料介紹說,爐殼焊縫開裂是由晶間腐蝕或者說是應力晶間腐蝕造成的。但不少專家卻認為,這種說法不完全準確。
究其原因,先來探討什么是晶間腐蝕?晶間腐蝕是指腐蝕沿晶界進行。其危險性很大,因為它通常不會引起金屬外形的任何變化,但卻能使金屬的機械性能急劇降低,以致引起突然破壞(這種破壞往往使人始料不及,它讓你看到的都是完好光亮無損的金屬表面,但金屬間結合力被破壞,材料幾乎喪失強度,嚴重者輕輕敲擊便成為粉末)。晶間腐蝕產生的原因,一般認為是鋼材本身的碳與鉻形成 (Cr23C6)鉻碳化物,這類鉻的碳化物沿晶界析出時,就會產生碳化物周圍局部貧鉻區域。當貧鉻區域局部鉻含量降低到不銹鋼耐腐蝕所需的最低含量以下,就會產生晶間腐蝕,即“晶間貧鉻理論”。這說明產生晶間腐蝕的鋼材是含鉻量高的不銹鋼,如奧氏體不銹鋼1Cr18Ni9Ti、2Cr18Ni9、馬氏體不銹鋼1Cr13、2Cr13等;也說明熱風爐不銹鋼爐殼在校對焊接時,應特別注意預防焊接過程中,出現焊接缺陷,造成熱風爐運行過程中,在3千克/平方厘米~5千克/平方厘米交變熱應力作用下,爐殼焊縫缺陷處產生疲勞,造成焊縫開裂。
我國熱風爐所用的材料絕大部分是含碳量≤0.2%的高強度低合金結構鋼,如Q345C、Q345R等。它們的化學成分中的Cr≤0.30%,與“晶間貧鉻理論”中的Cr含量相差甚遠,所以不會產生晶間腐蝕。
所謂應力腐蝕是在靜應力(金屬的內外應力)作用下,金屬在腐蝕介質中的破壞稱為應力腐蝕。腐蝕疲勞是在交變應力作用下,金屬在腐蝕介質中的破壞稱為腐蝕疲勞。應力腐蝕與腐蝕疲勞,是應力與介質兩種因素共同作用下所產生的破壞形式。應力腐蝕比較準確。
調查分析認為:爐殼在校對焊接過程中,焊縫裂紋是爐殼鋼板在加工成型過程中,由于鋼板的永久變形而產生材料內部組織應力;再加上加工過程中的精度誤差,會給爐殼校對、焊接造成很大的影響。在熱風爐爐殼校對焊接過程中,爐體大墻部位、燃燒室下部結構簡單,校對焊接比較容易,一般情況下不會產生焊縫開裂現象。但是燃燒室以上部位(含燃燒室)是爐殼結構復雜的部位,該部位是燃燒室與熱風出口相連接的地方。其幾何形狀變化比較大,容易出現焊接缺陷,也是應力集中傾向最嚴重的部位。因此,焊縫開裂幾乎全部發生在這個部位。
專家們分析認為:在熱風爐燃燒室部位由于結構復雜,在校對焊接過程中會出現積累誤差,造成圓環合攏處錯位,需要用鋼釬撬動或者用夾板與螺栓緊固撬動,強行合攏,這樣被撬動鋼板的彎曲部位會產生應力集中。焊接前如果把鋼釬或者夾板和螺栓松開,鋼板就會恢復到原位,應力集中就會自動消除。這是因為鋼板產生的彈性變形,在消除外力作用后,恢復原形消除了應力集中。而我們撬動鋼板的目的是合攏,合攏的目的是焊接。當爐殼鋼板在外力作用下強行合攏后,由彈性變形轉變為永久變形,鋼板的受力彎曲部位就是應力集中的地方,但不是外力作用的部位。因此,在校對過程中,要盡量減少和避免爐殼撬動合攏。爐殼校對過程中鋼板彎曲處產生的應力集中,是鋼板在外力作用下,強行合攏造成彈性變形轉變為永久變形產生的應力集中。焊接過程產生的應力集中,是鋼板被強行合攏后,把鋼板與鋼板連接處的縫隙加熱焊接,使焊區熔池中的液體金屬處于很高的溫度(可達2000℃以上),造成焊縫焊接時加熱膨脹,而停焊時冷卻收縮,產生應力集中。那么,撬動合攏鋼板彎曲處產生的應力集中與焊接時,外力作用部位在焊接過程產生的應力集中及各部位焊接過程,加熱冷卻產生的應力集中聯系在一起,就是更為復雜的應力集中。彈性變形轉變為永久變形后,當產生的應力集中大于外力作用,加上焊接加熱冷卻時產生的應力集中,在外力撤出后, 短期內就會產生巨響,甚至會造成拱頂與殼體分離。如果外力作用處的焊接應力大于彎曲變形處的應力時,爐殼焊縫應力集中依然存在。內壁焊縫會出現兩種可能:一種是應力集中產生的裂紋,熱風爐經過一段時間運行后,就會出現爐殼表面的焊縫開裂;另一種是有應力集中但沒有產生裂紋,這就是最理想的熱風爐爐殼。因為有裂紋和沒有裂紋的應力集中,都可以在熱風爐烘爐和運行過程中,通過人工時效的方法減少和消除應力集中。這樣的爐殼,應該是長壽命的爐殼(有焊接缺陷的除外)。
堅決避免焊縫開裂 爐殼安全又長壽
專家們分析認為,爐殼在校對焊接過程中, 產生的氣孔、疏松、夾渣、龜裂等焊接缺陷與撬動合攏產生的應力集中、原材料的含硫量及其焊接技術都有直接或者間接的關系。因為焊接過程中遇到撬動合攏變形產生的應力集中處,焊條熔化導致撬動變形處產生微變形,焊條在熔化過程中容易形成焊接缺陷。如果原材料含硫量過高,在焊接加熱與冷卻過程中,經過1150℃~1200℃之間的時候,產生熱脆現象,容易造成龜裂和氣孔等焊接缺陷。如果焊接人員不了解撬動合攏應力集中和原材料焊接性能進行焊接,產生焊接缺陷的概率就會更大。因此,焊工在焊接前,應該詳細了解爐殼所用的原材料和爐殼的加工和焊接工藝,然后再進行焊接。如果產生了焊接缺陷,一定會影響爐殼的使用壽命。因為在熱風爐運行過程中,受到周期性3千克/平方厘米~5千克/平方厘米氣體壓力作用,焊接缺陷產生的氣孔、疏松、夾雜、龜裂等尖角部位又會產生應力集中,在應力作用下產生微裂紋,腐蝕介質進入微裂紋腐蝕,一直延伸到爐殼表面看到焊縫開裂。這應該是應力腐蝕和腐蝕疲勞造成的惡果。
專家們還分析認為,熱風爐爐殼在校對焊接過程中,由于變形產生的應力集中和焊接產生的應力集中造成的焊接裂紋與焊接缺陷,在熱風爐運行過程中,在周期性3千克/平方厘米~5千克/平方厘米壓力作用下,應力集中造成的運行裂紋都會在周期性壓力和腐蝕介質作用下,裂紋越來越深,越來越長,介質腐蝕也越來越嚴重,直到人們發現爐殼外部焊縫開裂。這應該是應力腐蝕的全過程,是熱風爐爐殼壽命短的重要原因。
爐殼選材慎之又慎 安全生產警鐘長鳴
目前,我國頂燃式熱風爐爐殼開裂時采取的處理措施有以下幾種:
措施一:沿焊縫兩側10厘米~20厘米熱影響區爐殼進行切割(內裂縫區域),然后采用新的鋼板填補焊補接。但這樣的填補焊接方法會使焊縫增加一倍,會導致焊縫新的熱影響區內部爐殼再次龜裂發生,安全隱患更大。這種方法不是很好的處理裂縫的方法,會使焊縫周向產生新的焊接應力裂紋及腐蝕開裂。
措施二:選用壓力容器鋼板Q345C+904L復合鋼板或者Q345R+904L復合鋼板,都取得了較好的處理效果。
無論采取措施一或者措施二,雖然都能解決爐殼開裂問題,但是都需要單座熱風爐停爐切割爐殼或者挖補爐殼實施維修,維修工程量大且停爐時間長,影響風溫和企業效益。以5000m3級別高爐配套4座頂燃式熱風爐切割爐殼大修為例:維修工期約一年時間,其切割維修影響企業經濟效益大約在1.5億元至1.6億元之間;如果采用挖補維修,維修期一般為8個月左右,其費用和企業經濟損失也在億元左右,損失比較大。
綜合采用爐外增加一層Q345R爐殼,新老爐殼之間增加保溫材料(寧可采用Q345R,也不能再采用具有熱脆、冷脆、氣孔、焊接瑕疵且具有加工殘存應力損傷的Q345C),可確保內層老爐殼溫度大于100℃,冷凝水珠變為蒸汽蒸發,避免燃燒和送風過程中大量生成的氮氧化物和硫化物氣體與掛在爐殼壁上的冷凝水珠結合,形成酸根腐蝕介質腐蝕應力損傷的鋼殼組織和焊縫裂紋(該爐殼解決方法已經申報國家專利)。
另一種是很多單位常見的方法,就是讓高溫區域爐殼溫度大于100℃甚至到150℃~180℃, 目的也是讓冷凝水珠變為蒸汽蒸發,防止冷凝水珠與氮化物、硫化物生成腐蝕介質,但這樣做會大大增加熱風爐的散熱損失。筆者簡單核算散熱損失,按照日產12000噸鐵產能,全年按照350天、420萬噸鐵產能,如果爐殼平均溫度為90℃,其每小時散熱損失為702240千卡/(小時·座),折合煤氣量為936.32立方米/(小時·座),折合煤氣消耗量為7.49立方米/噸鐵,全年爐殼散熱損失折合煤氣用量31458000立方米;如果爐殼平均溫度為 120℃,其每小時散熱損失為1083760千卡/(小時·座),折合煤氣量為1445.01立方米/(小時·座),折合噸鐵煤氣消耗量為11.56立方米/噸 ,全年爐殼散熱損失折合煤氣用量48552000立方米;如果爐殼平均溫度150℃,其每小時散熱損失為1526080千卡/(小時·座),折合煤氣量為 2034.77立方米/(小時·座),折合煤氣消耗量為16.26立方米/噸,全年爐殼散熱損失折合煤氣用量68376000立方米。爐殼平均溫度由90℃增加到150℃,每年多浪費36918000立方米煤氣,超過了爐殼90℃時的熱損失(燃燒室爐殼溫度低于90度為常規設計,如果采用豫興的這項專利對燃燒室實施外保溫,其節能成本將更高)。降低效率、在增加燃料成本、氮氧化物增加、二氧化碳排放增加、企業效益降低,這是得不償失的舉措。而新增加的外覆部爐殼既可以承壓承重又可以避免散熱損失,節約燃料、提高效率、減氮減碳,還不需要單座熱風爐停產,可以徹底消除爐殼開裂的安全隱患。
上述應力集中的分析說明,要想解決砌筑的耐材受力導致的應力集中,就要從耐材砌筑結構的加熱受力著手。豫興四段式熱風爐就是采取把熱風出口直段和錐段做了防止應力集中的分散處理方法,錐形拱頂和熱風出口直段各自獨立支撐,減少了應力集中,很好地解決了現有頂燃式熱風爐熱風出口受力損壞問題,保障了燃燒室結構和熱風出口結構的穩定長壽。首鋼張福明專家團隊提出的擬合懸鏈線結構解決了燃燒室部位另外三個問題:其一是采用懸鏈線拱頂擬合結構,徹底解決了原燃燒室錐段不合理受力導致的錐形拱頂中部砌體下垂,而拱腳部位受力使錐形拱頂喇叭口直徑擴大損壞耐材墻體;其二是錐形拱頂的剪切應力、重力、下滑力綜合作用對錐形拱頂中部的不合理受力導致錐形中部下垂,拱腳部位受力使錐形拱頂喇叭口直徑擴大,導致爐殼球面部位鋼殼受力損傷和應力腐蝕開裂;其三是將燃燒室直段和砌筑在上面的錐形拱頂優化為擬合懸鏈線拱頂結構并實施分離設計,有效轉移分散了應力,解決了耐材應力和鋼殼應力作用。再通過改變爐殼材質,采用適應大型高爐高風溫、高風壓熱風爐要求的壓力容器爐殼鋼板Q345R替代Q345C爐殼鋼板,用簡單易行的方式徹底解決腐蝕開裂現象,確保燃燒室內襯耐材和爐殼消除所有應力從而實現穩定長壽高風溫目標。(劉世聚)




























